Überblick
Der Formatkonverter UDC-8625A
nach Oben
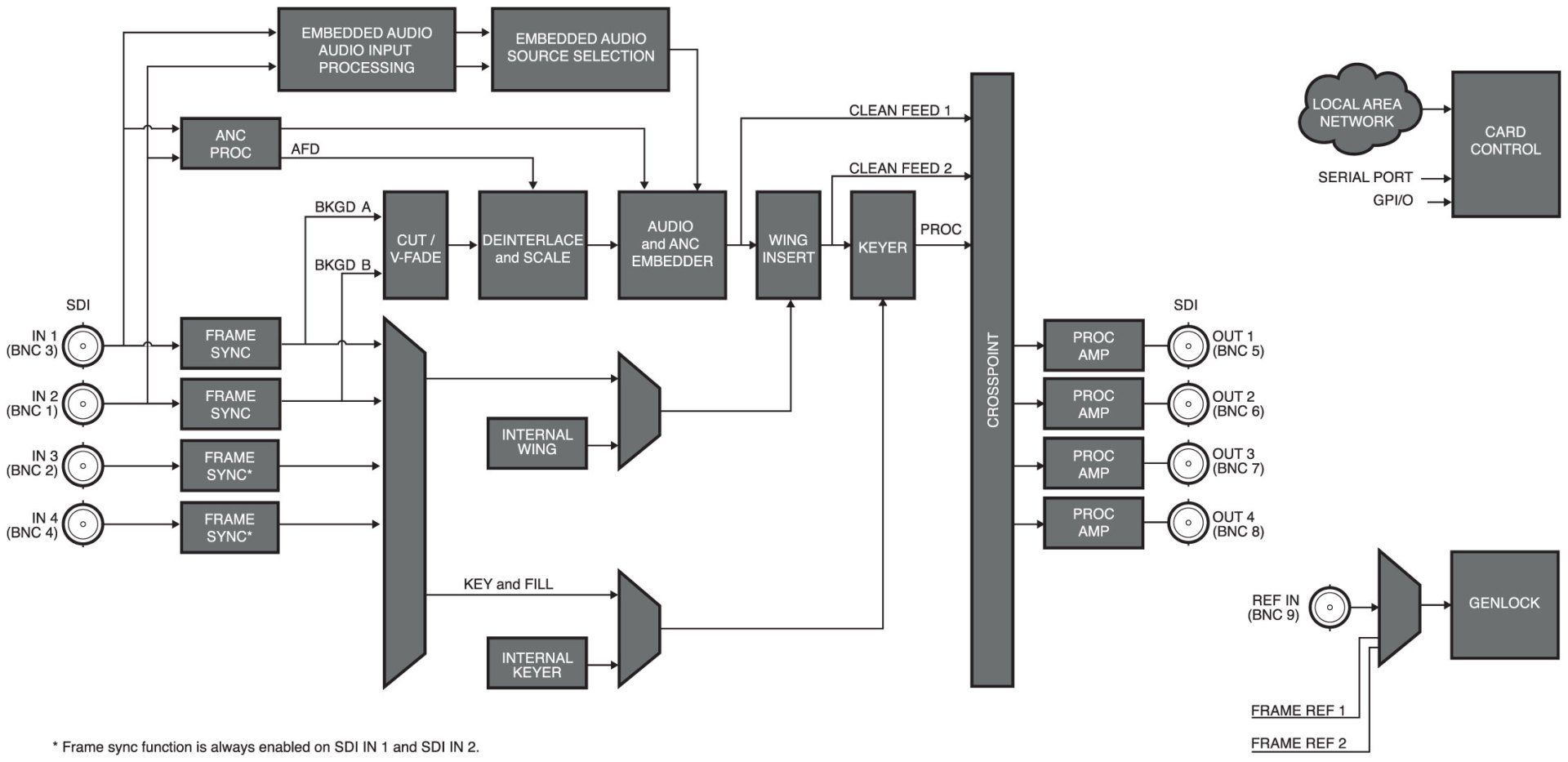
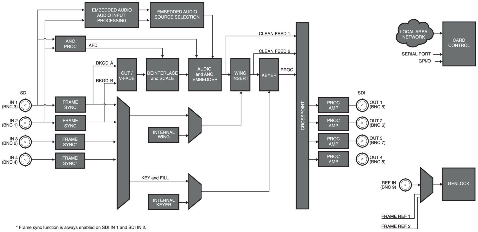
Ein funktionsreicher 3G / HD / SD SDI-Konverter, der alle traditionellen Formate einschließlich 1080p, 1080i, 720p, 480i und 576i unterstützt. Die Audio- und Videosynchronisation ist mit einem Signalprozessor kombiniert, der die volle Kontrolle über die 16 Audiokanäle mit Gain, Invert, Shuffle und Sample-Rate-Konvertierung bietet. Die Videoverarbeitung bietet eine Anpassung für Luma-/Chroma-Verstärkung plus Schwarzoffset mit Metadatenverarbeitung einschließlich AFD-Verarbeitung und Einfügung. Die Einfügung von Säulenbalken/Briefkasten (Flügel) kann mit dem externen Fill-Signal oder intern vom Logo-Inserter erfolgen. ARC-Konfigurationen können über GPI oder DashBoard gespeichert und abgerufen werden. A/B-Eingänge können auf V-Fade konfiguriert werden oder in einem automatischen Fail-Safe-Modus betrieben werden, wobei bei Ausfall / Abwesenheit des primären Eingangs der sekundäre Eingang ausgewählt wird.
Der UDC-8625A Keyer
Der UDC-8625A kann als Keyer betrieben werden, indem man die externen Key/Fill-Eingänge über den PGM-Eingang schickt. Der Betrieb kann so erweitert werden, dass der Hintergrund mit V-Fade-Übergängen hinter dem Keyer gemischt werden kann, indem der zweite Hintergrundeingang verwendet wird.
Der Logoeinblender UDC-8625A
Der UDC-8625A bietet internen 2-Gb-Speicher für die Logoeinblendung und unterstützt statisches und animiertes Playout mit Unterstützung für die Dateiformate TGA, GIF, PNG, BMP und JPG.
Der A/B-Mischer UDC-8625A
Für das Downstream-Signalmischen bietet der UDC-8625A eine vollständige Audio-/Video-Mixing-Engine, die so konfiguriert werden kann, dass Fade-Fade-, Take-Fade- oder Fade-Take-Übergänge mit wählbarer Rate-Steuerung durchgeführt werden können.
Kombinierter UDC, Keyer, Logoeinblendung und A/B Frame Sync
Jede beliebige Kombination, je nach Bedarf!
Steuerung
Der UDC-8625A bietet eine vollständige Fernsteuerung und Überwachung über das DashBoard Control System. Automatisierungsunterstützung wird über die serielle RS-422-Steuerung und / oder GPI in Kombination mit direkter Ethernet-Konnektivität für die Medienübertragung angeboten.
Funktionen
- Aufwärts/Abwärts/Kreuz, ARC-Konvertierung aller traditionellen Formate 1080p, 1080i, 720p, 480i, 576i
- Audio-/Video-Frame-Synchronisierung mit Verarbeitung
- Audio, eingebetteter 16-Kanal-Prozessor: Verstärkung, Invertierung, Shuffle, Sampleraten-Konvertierung
- Video, Luma-/Chroma-Verstärkung und Schwarzoffset
- Metadaten mit AFD-Verarbeitung und -Einfügung
- Primärer/sekundärer ausfallsicherer Eingang mit automatischer Umschaltung
- Interne oder externe Säulenleiste/Briefkasten-Grafiken einfügen
- Fähigkeit zum Erstellen und Abrufen von ARC-Konfigurationsprofilen
- Tastung mit externen Tasten-/Fülleingaben
- Logoeinfügung mit 2Gb-Animationsspeicher, der TGA, GIF, PNG, BMP und JPG unterstützt
- A/B-Hintergrundmischung mit Fade-Fade, Take-Fade, Fade-Take
- Automatisierungssteuerung über serielle RS-422 und / oder GPI
- Dedizierter Ethernet-Anschluss für Medienübertragungen
- 5 Jahre übertragbare Garantie
Bestellinformationen
3G / HD / SD SDI-Multifunktionsformat-Konverter
nach Oben
UDC-8625A 3G / HD / SD SDI-Multifunktions-Formatwandler
Hinteres Modul-Suffix (z.B.: [Modell]-R2)
-R2
Rückseitiges Modul für UDC-8625A
Mehr Informationen:
Rufen Sie uns an:
oder




