Überblick
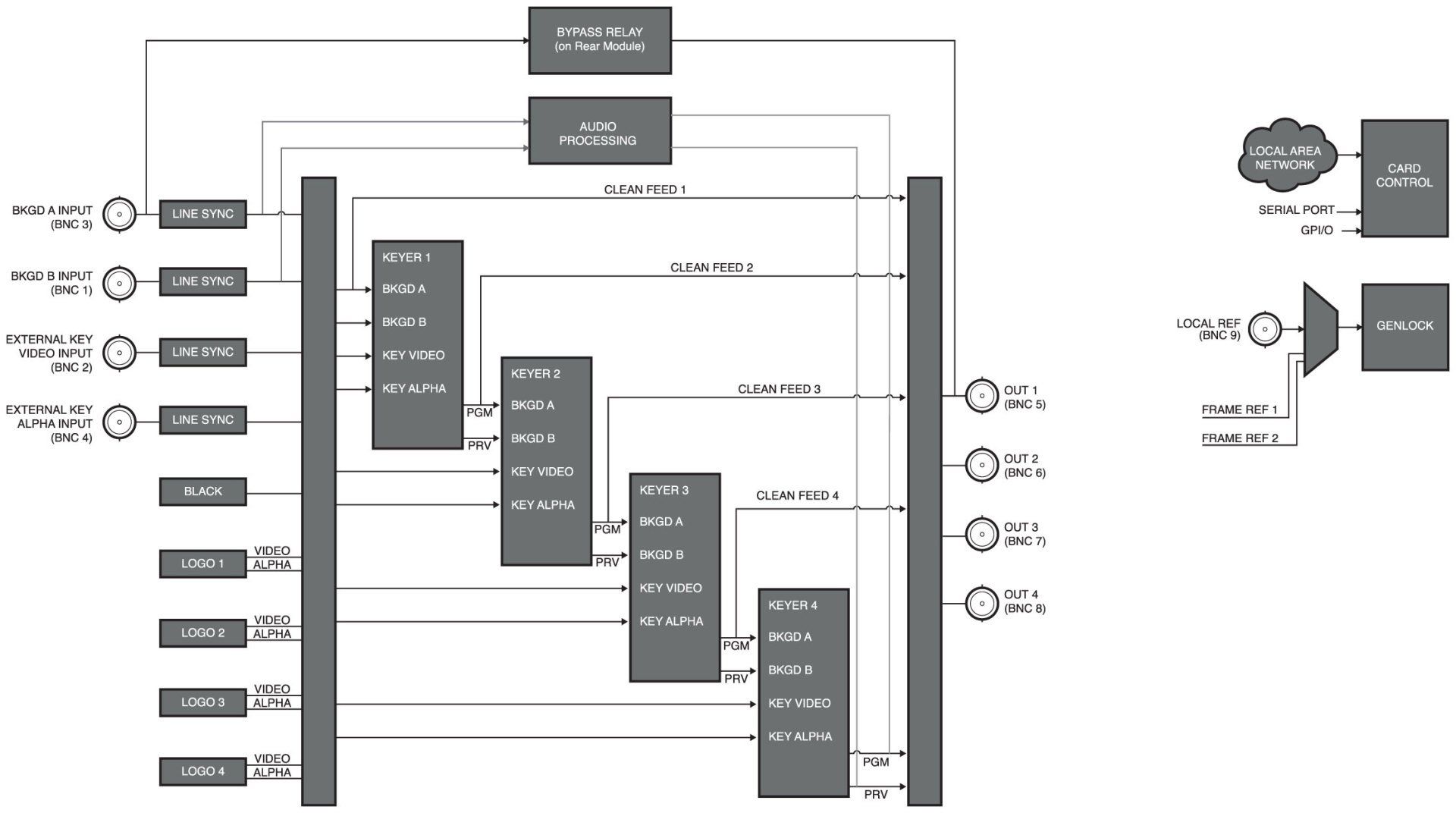
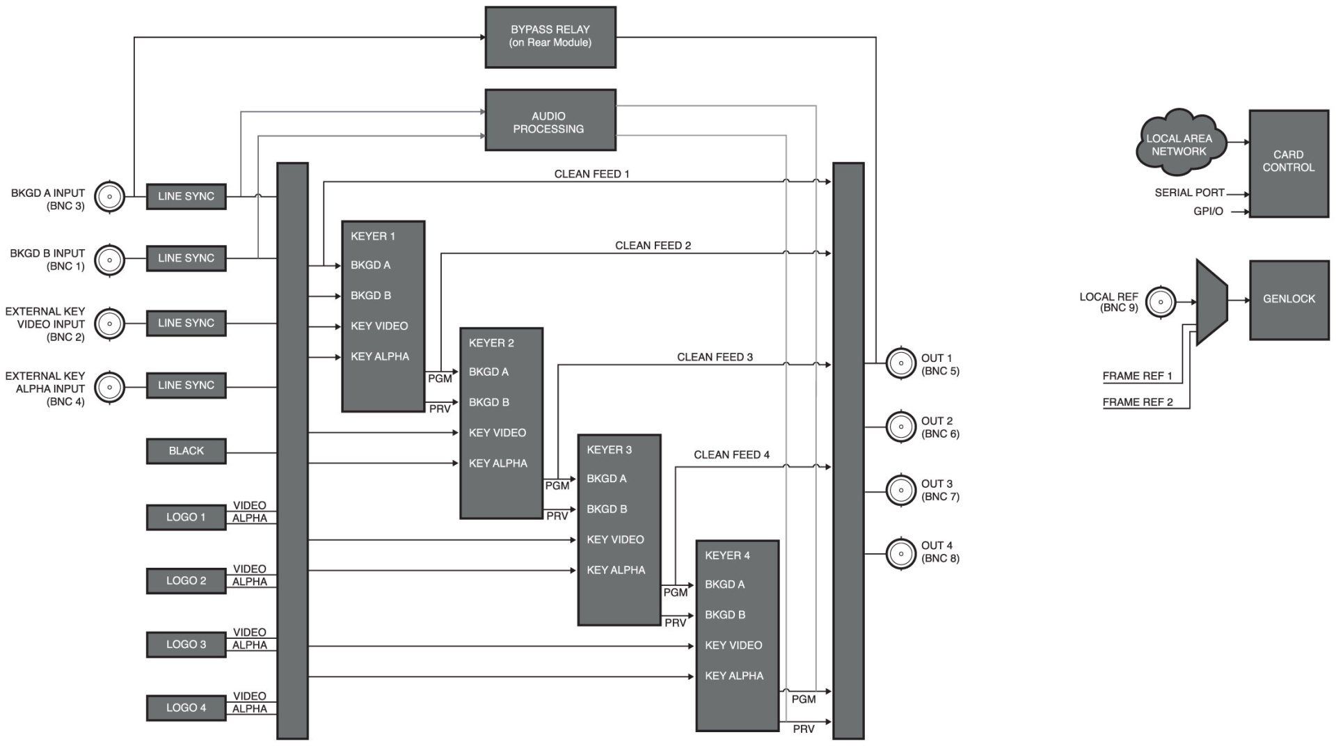
Der MDK-111A-M ist der fortschrittlichste HD / SD SDI Single Card Mixer / Keyer auf dem Markt. Die Multikeying-Funktion ermöglicht das gleichzeitige Compositing sowohl einer externen Key-Quelle mit bis zu 3 intern generierten Logo-Key-Quellen plus Hintergrundmischung. Beispielsweise kann das MDK-111A-M einen externen Zeichengenerator wie XPression von Ross Video über das Hintergrundvideo und dann bis zu 3 intern generierte animierte Logos legen. Die Übergangssteuerung zu jeder Ebene; BKGD, externe Taste und/oder interne Tasten sind unabhängig voneinander steuerbar. Die internen Key-Quellen können beliebig groß bis zum Vollbild sein und beliebig positioniert werden. Dies macht das Einfügen von Trouble Slides, Content Rating Bugs, Senderlogos und EAS einfach und erschwinglich.
nach Oben
Das MDK bietet 4 konfigurierbare Ausgänge mit Auswahlmöglichkeiten für PGM / PREVIEW und CLEAN. Die vorausschauende PREVIEW ist ideal für Live-Produktionen und bietet Vertrauen in die Qualität und Genauigkeit der nächsten Szene, die ausgestrahlt werden soll.
Das MDK-111A-M bietet mit insgesamt 8 konfigurierbaren GPI/Os, der seriellen Schnittstelle M2100 und einer vollständigen DashBoard-Steuerung und Überwachung eine breite Palette an Steuerungsmöglichkeiten. Die flexible Steuerung macht das automatische Einfügen von Logos an jeder beliebigen Stelle des Programmstroms einfach.
Das integrierte Bypass-Relais von BKGD A zu PGM das On-Air Signal sicher, wenn das Gerät vom Netz genommen wird, um sicherzustellen, dass wichtige Programmstrominhalte nicht verloren gehen.
An der Karten ist Compact Flash reader für die lokale Speicherung von Logo-Inhalten mit integriertem Online-Speicher für das Logo-Playout vorgesehen. Das System wird mit einem 2-Gb-Standard sowohl für Compact Flash als auch für Online-Speicher geliefert.
Anwendungen
- Inserter für animiertes Channel-Branding
- Bewertung Inserter
- Mini-Master-Steuerungsumschalter
- Nachgeschalteter Keyer / Branding-Motor
- Mastersteuerungs-Bypass-Mischer
- Branding / Sponsoring Keyer für Stadien Das MDK-111A-M ist das fortschrittlichste HD / SD SDI
Funktionen
- HD / SD SDI SMPTE 292M, 1.485Gb/s, SMPTE 259M, 270Mb/s
- Unterstützt 1080PsF/24 und 1080PsF/23.98
- 4 Keyer: 1 externer Key/Fill, 3 interne Animations-Keyer
- BKGD A- und BKGD B-Eingänge mit Video- und Audio-V-Fade und Mischung mit Bypass-Relais für BKGD A bis PGM-Ausgang
- Konfigurierbare Ausgaben mit Programm, Vorschau, Clean
- Flexible Steuerung, 8 GPI/O, M2100 seriell
- 2 Gb CF-Speicher für mehrere Standbilder oder animierte Logos und Vollbildbilder
- Integration des RossLinq-Protokolls
- Unabhängige Übergangskontrollen für jeden Keyer
- 5 Jahre übertragbare Garantie
- Leistung: 18,4 Watt
Bestellinformationen
Neuer TextHD / SD-Mixer / Keyer mit interner Logoeinblendung
nach Oben
MDK-111A-M HD / SD SDI-Mischpult / Keyer mit interner Logoeinblendung
Hinteres Modul-Suffix (z.B.: [Modell]-R2)
-R2
Rückseitiges Modul für MDK-111A-M
Mehr Informationen:
Rufen Sie uns an:
oder




